电厂热工仪表常见故障分析与处理分享
2023-02-27 科威
什么是安全栅?什么是信号隔离器?
2023-02-13 科威
热电偶补偿原理知识分享
2023-02-06 科威
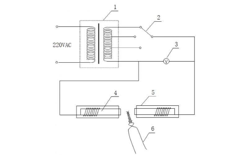
一种贵金属热电偶焊接装置
使用便携手持式湿度分析仪进行现场抽查和现场校准
2023-01-06 科威
重要的测量点增加信号隔离器的必要性
2023-01-03 科威
炉顶摄像系统在高炉上的应用及改进分享
电磁流量计原理及常见故障和处理方法
2022-12-30 科威